//
ТехЛит.ру
- крупнейшая бесплатная электронная интернет библиотека для "технически умных" людей.
WWW.TEHLIT.RU - ТЕХНИЧЕСКАЯ ЛИТЕРАТУРА

:: Алготрейдинг::


АЛГОТРЕЙДИНГ
шаг за шагом
с нуля по урокам!

Торговые роботы на PYTHON, BackTrader,
Pandas, Pine Script для TradingView. Связка с брокерами, телеграм и легкими приложениями.


ГОСТ 24558-81

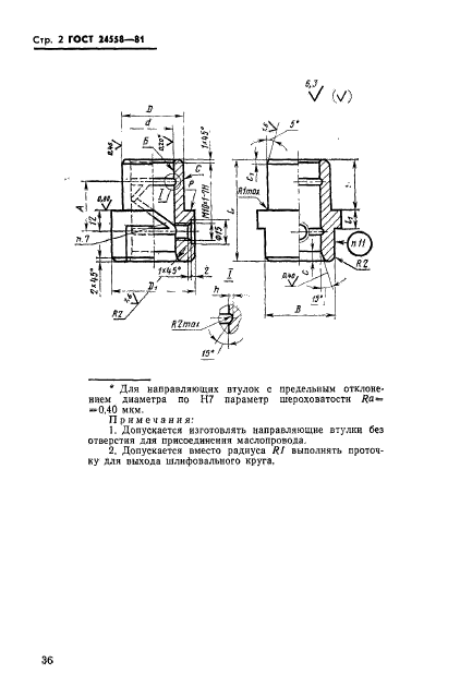
Штампы для листовой штамповки. Втулки направляющие для ступенчатых направляющих колонок. Конструкция и размеры

Обозначение стандарта:ГОСТ 24558-81
Статус стандарта:действующий
Название рус.:Штампы для листовой штамповки. Втулки направляющие для ступенчатых направляющих колонок. Конструкция и размеры
Название англ.:Sheet stamping dies. Guide bushes for guide posts with flute. Design and dimensions
Дата введения в действие:01.01.1982
Область и условия применения:Настоящий стандарт распространяется на направляющие втулки с дополнительным креплением для направляющих ступенчатых колонок по ГОСТ 13119-81, применяемые в направляющих узлах штампов и устанавливаемые по системе отверстия
Список изменений:№1 от --1987-01-01 (рег. --1986-03-25) «Срок действия продлен»
c=&f2=3&f1=II001&l='>ОКС Общероссийский классификатор стандартов
  • c=&f2=3&f1=II001025&l='>25 МАШИНОСТРОЕНИЕ *Эта область включает стандарты общего назначения
  • c=&f2=3&f1=II001025120&l='>25.120 Оборудование для бесстружечной обработки
  • c=&f2=3&f1=II001025120010&l='>25.120.10 Ковочное оборудование. Прессы. Ножницы
  • c=&f2=3&f1=II002&l='>КГС Классификатор государственных стандартов
  • c=&f2=3&f1=II002004&l='>Г Машины, оборудование и инструмент
  • c=&f2=3&f1=II002004002&l='>Г2 Инструмент промышленный и приспособления
  • c=&f2=3&f1=II002004002002&l='>Г22 Инструмент и приспособления для холодной обработки давлением


  • ГОСТ 24558-81
    ГОСТ 24558-81
    ГОСТ 24558-81
    ГОСТ 24558-81





    Яндекс цитирования



       Copyright © 2007-2026,  www.tehlit.ru.

    [ ѓосты, стандарты, нормативы, инструкции, правила, строительные нормы ]